鋁隔板式高效率空氣過濾器
Separator Capacity HEPA filter
|
特徵 Features |
|
|
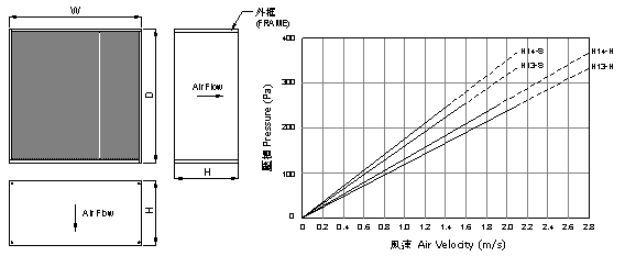
效率Efficiency: |
PAO 99.99%、99.995% at 0.3µm |
|
標準Std.: |
EN1822,Class H13 / H14 |
|
|
|
|
使用條件Operating conditions |
|
|
耐用溫度Temperature:80℃ |
|
|
耐用溼度Humidity:100%RH(NO Dew) |
|
|
宽*高*深 W*H*D (mm) |
滤材面积 Area (m²) |
效率 Effciency |
风量 Airflow (CMH) |
初压损 Initial Resistance (Pa) |
风量 Airflow (CMH) |
初压损 Initial Resistance (Pa) * |
|
305*610*292 |
6.69 |
H13 |
1000 |
250 |
1700 |
350 |
|
H14 |
280 |
380 |
||||
|
610*610*292 |
13.66 |
H13 |
2000 |
250 |
3400 |
350 |
|
H14 |
280 |
380 |
||||
|
915*610*292 |
20.64 |
H13 |
3000 |
250 |
5000 |
350 |
|
H14 |
280 |
380 |
||||
|
1220*610*292 |
27.91 |
H13 |
4000 |
250 |
6660 |
350 |
|
H14 |
280 |
380 |
||||
|
305*610*150 |
3.2 |
H13 |
500 |
230 |
1000 |
330 |
|
H14 |
260 |
375 |
||||
|
610*610*150 |
6.4 |
H13 |
1000 |
230 |
2000 |
330 |
|
H14 |
260 |
375 |
||||
|
915*610*150 |
9.6 |
H13 |
1500 |
230 |
3000 |
330 |
|
H14 |
260 |
375 |
||||
|
1220*610*150 |
12.81 |
H13 |
2000 |
230 |
4000 |
330 |
|
H14 |
260 |
375 |
||||
|
建议终压损:600Pa Recommendde final pressure:600Pa |
||||||
|
*Pressure range±15% 特殊尺寸及规格可依客户要求制作。 Different sizes and specifications are available. |
||||||
|
材质·使用条件 |
|
|
|
|
|
|
|
型号 |
A |
BA |
D |
EA |
||
|
材质 |
滤材 |
玻璃纤维 |
||||
|
分隔 |
纸 |
铝 |
||||
|
框架 |
镀锌钢板 |
铝合金 |
胶合板 |
铝合金 |
||
|
框架表面处理 |
- |
氧化 |
- |
氧化 |
||
|
密封胶 |
聚氨酯 |
|||||
|
密封条 |
氯丁橡胶 |
|||||
|
使用条件 |
连续使用温度(℃) |
60 |
||||
|
使用瞬间湿度(%RH) |
85(不结露) |
100(不结露) |
||||